Типы принудительной циркуляции носителя тепла в обогреве
Применение схем отопления с принудительной циркуляцией в двухэтажных домах используется из-за протяжённости линий системы (более 30 м). Такой способ осуществляется при помощи циркуляционного насоса, перекачивающего жидкость контура. Он монтируется на входе в отопительный прибор, где температура теплоносителя является самой низкой.
При замкнутом контуре степень напора, которую развивает насос, не зависит от этажности и площади строения. Скорость водяного потока становится больше, поэтому при прохождении по трубопроводным линиям теплоноситель сильно не остывает. Это способствует более равномерному распределению тепла по всей системе и использованию теплогенератора в щадящем режиме.
Расширительный бак можно располагать не только в наивысшей точке системы, но и возле котла. Для совершенства схемы проектировщики ввели в неё разгонный коллектор. Теперь, если отключится электроэнергия с последующей остановкой насоса, система будет продолжать работу в режиме конвекции.
- с одной трубой;
- двумя;
- коллекторная.
Каждую можно смонтировать самим или пригласить специалистов.
Вариант схемы с одной трубой
На входе в батарею также монтируется запорная арматура, которая служит для регулировки температуры в комнате, а также необходимая при замене оборудования. Сверху радиатора устанавливают вентиль для спуска воздуха.
Вентиль на батареи
Чтобы повысить равномерность распределения тепла, радиаторы устанавливаются по линии байпасов. Если не использовать эту схему, то потребуется подбирать батареи разной мощности с учетом потери носителя тепла, то есть чем дальше от котла, тем больше секций.
Использование запорной арматуры необязательно, но без нее снижается маневренность всей системы отопления. При необходимости вы не сможете отключить от сети второй или первый этаж для экономии топлива.
Чтобы уйти от неравномерного распределения носителя тепла, используют схемы с двумя трубами.
- тупиковая;
- попутная;
- коллекторная.
Варианты тупиковой и попутной схем
Попутный вариант позволяет легко контролировать уровень тепла, но необходимо увеличивать длину трубопровода.
Наиболее эффективной признана коллекторная схема, которая позволяет подводить к каждому радиатору отдельную трубу. Тепло поступает равномерно. Есть один минус – высокая стоимость оборудования, так как увеличивается количество расходного материала.
Схема коллекторного горизонтального отопления
Существуют еще вертикальные варианты подачи носителя тепла, которые встречаются с нижней и верхней разводкой. В первом случае сток с подачей носителя тепла проходит сквозь этажи, во втором, стояк идет вверх от котла на чердак, где идет разводка труб на элементы обогрева.
Вертикальная схема
Двухэтажные дома могут иметь самую разную площадь, начиная от нескольких десятков и заканчивая сотнями квадратных метров. Также они отличаются расположением комнат, наличием пристроек и отапливаемых веранд, положением к сторонам света. Ориентируясь на эти и многие другие факторы, следует определиться с естественной или принудительной циркуляцией теплоносителя.
Простая схема циркуляции теплоносителя в частном доме с системой отопления с естественной циркуляцией.
Схемы отопления с естественной циркуляцией теплоносителя отличаются своей простотой. Здесь теплоноситель движется по трубам самостоятельно, без помощи циркуляционного насоса – под действием тепла он поднимается вверх, попадает в трубы, распределяется по радиаторам, остывает и попадает в обратную трубу, чтобы вновь отправиться в котел. То есть, теплоноситель движется самотеком, подчиняясь законам физики.
Схема закрытой двухтрубной системы отопления двухэтажного дома с принудительной циркуляцией
- Более равномерный прогрев всего домовладения;
- Значительно большая длина горизонтальных участков (в зависимости от мощности используемого насоса, она может достигать нескольких сотен метров);
- Возможность более эффективного подключения радиаторов (например, по диагональной схеме);
- Возможность монтажа дополнительной фурнитуры и изгибов без риска снижения давления ниже минимального предела.
Таким образом, в современных двухэтажных домах лучше всего использовать отопительные системы с принудительной циркуляцией. Также возможен монтаж байпаса, который поможет выбирать между принудительной или естественной циркуляцией в целях выбора наиболее оптимального варианта. Мы делаем выбор в сторону принудительных систем, как более эффективных.
https://www.youtube.com/watch?v=olrD9qxCAhM
У принудительной циркуляции есть парочка недостатков – это необходимость в покупке циркуляционного насоса и повышенный уровень шума, связанный с его работой.
Виды разводки
Разводка систем отопления
Паровой тип отопления может быть разведен по помещению несколькими способами. Каждый из них имеет свои особенности.
- Верхняя. Подразумевает размещение пароотвода под потолком. Вниз выходят трубы к радиаторам. Обычно для эффективного отопления стараются использовать этот тип системы, так как здесь пар движется по одному носителю, а конденсат по другому.
- Нижняя. По одним и тем же патрубкам осуществляется движение конденсатора и пара. В результате возможно возникновение гидроудара и разгерметизации системы. Трубы располагаются на уровне пола.
- Промежуточная. Укладывается пароотвод на уровне подоконника, поэтому горячие патрубки находятся в зоне доступа. Из-за этого повышается риск получения ожога. Принцип работы такой конструкции схож с верхним вариантом разводки.
Общие рекомендации по монтажу
Многие сталкиваются с ошибками или дисфункцией отопления после его организации
Поэтому важно учесть некоторые советы. Они помогут исключить разные неприятности
- Металлопластиковые трубы не подходят для пайки из-за высокой температуры теплоносителя.
- Каждый этап установки должен быть выполнен специалистами или хотя бы контролироваться ими. Один неверный шаг и система может выйти из строя, причинить вред имуществу и здоровью.
- Обязательно учитывается количество вырабатываемого пара (прописывается на упаковке). От этого зависит скорость обогрева помещения.
Основные сферы применения
Обращая внимание на указанные недостатки, можно сделать простой вывод – паровое отопление в частном доме не является такой уж хорошей идеей. Мощные турбины на заводе. Мощные турбины на заводе
Мощные турбины на заводе
Сегодня такую систему можно встретить на крупных предприятиях, складах. В некоторых случаях для создания системы используются мощности производства. То есть, если предполагается регулярный выброс горячего пара, его просто направляют в систему для обогрева помещения.
Кроме того, довольно часто подобный тип отопления используется в общественных местах: подземные пешеходные переходы лестничные клетки, вестибюли – там, где требуется поддержание достаточно высокого уровня нагрева из-за постоянной циркуляции воздуха.
Особенности оборудования
Как и любая другая система, данная также требует наличия печи (или же котла) для парового отопления дома. На современном рынке представлено значительное количество котлов, основным различием которых является используемое горючее.
Они бывают:
- на твердом топливе (уголь, дрова, пеллеты);
- на жидком топливе (отработанное масло);
- на газу.
Разумеется, выбор во многом зависит от того, какой именно тип топлива является для вас наиболее доступным.
Если вы являетесь владельцем дома, в котором есть старая печь – не следует разбирать ее. Она также может стать нагревательным элементом отопительной системы. Разумеется, в таком случае ее придется несколько «модернизировать». В частности — снабдить теплообменником, в котором, собственно, и будет образовываться необходимый для отопления пар.
Вывод
Отопление паром может стать не плохим решением вопроса обогрева помещения. Но для частного дома, с учетом недостатков паровой системы, все же рекомендуется выбирать другой тип отопления.
Принцип работы парового отопления
Работу подобной отопительной системы можно описать примерно так: есть специальный котел, в котором вода под высоким давлением нагревается до температуры кипения. В результате образуется пар, поступающий посредством магистралей непосредственно в отопительные радиаторы. Когда он полностью отдает тепло, то возвращается обратно в виде конденсата. Стоит отметить, что в такой системе горячий пар выдавливает воздух. Температура радиаторов может достигать 100о С, да и это не предел.
Основные преимущества.
Рассмотрим достоинства парового отопления:
- В теплообменнике не теряется тепло. Пар аккумулирует тепло, поэтому для такой системы нужны небольшие трубы.
- С помощью такого отопления можно рекордно быстро отопить необходимое вам здание, так как имеет место малая инерционность.
- Паровой котел, используемый в системе, накапливает пар.
Это все, конечно, хорошо, но система парового отопления имеет и некоторые недостатки. Так, срок ее эксплуатации довольно короткий. Более того, теплоотдающая поверхность при работе разогревается до высокой температуры.
Прикоснувшись к ней, вы можете получить серьезный ожог.
Какие существуют виды парового отопления
Существует несколько классификаций отопления, которые зависят от ряда принципов и аспектов применения. Так, по способу возвращения конденсата обратно в котел системы отопления бывают:
- Закрытые, в которых конденсат сразу направляется в отопительный котел.
- Открытые, где он сначала скапливается в специальном резервуаре.
Идем дальше. В зависимости от количества контуров отопление может быть:
- Одноконтурным, предназначенным исключительно для обогрева здания.
- Двухконтурным, способным, помимо этого, обеспечить и нагрев воды для хозяйственных нужд.
Наконец, паровые системы могут отличаться по способу разводки, которая может быть:
- Нижней.
- Верхней.
Сама разводка выбирается на основании функциональных особенностей сооружения и типа используемых труб.
Как выбрать отопительный котел

Котел является основой системы, его ядром. Должным образом он будет функционировать только тогда, когда его подберут в соответствии с особенностями отапливаемого помещения. Иными словами, отопительный котел должен обладать достаточной мощностью для того, чтобы обогревать нужное помещение. Для помощи с этим мы привели следующие показатели:
- Для здания с площадью до трехсот метров необходимая мощность — 30 киловатт.
- До шестисот метров — 60 киловатт.
- До тысячи двухсот метров — 80-100 киловатт.
Кроме того, паровое отопление в частном доме может питаться от различных типов топлива:
- Твердого.
- Жидкого.
- Комбинации.
- Газа.
Самая главная роль в устройстве отопительного котла отведена барабану, к которому и крепятся все соответствующие датчики, трубопровод и так далее. Помимо этого, котел может быть водотрубным и газотрубным.
Какие трубы подойдут нам больше всего.
В данном случае все будет зависеть преимущественно от ваших желаний и предпочтений. Классифицируют такие трубы в зависимости от материала, использованного для изготовления.
- Стальной трубопровод. При его установке понадобится сварочное оборудование. Отличается хорошей устойчивостью и прочностью, но вместе с тем имеет существенный минус — со временем его поверхность покрывается коррозией.
- Трубопровод из меди. Также достаточно надежен, прекрасно показал себя в таких трубопроводах, где теплоноситель циркулирует под большим давлением и высокой температурой. Для того чтобы монтировать подобную систему, нужно будет воспользоваться методом пайки. Есть у нее и недостатки. Так, оборудовать дом медным трубопроводом будет очень дорого, именно поэтому он встречается преимущественно в дорогих роскошных особняках.
- Оцинкованный и нержавеющий трубопровод.
В отличие от первого варианта, данная система магистралей крайне устойчива к возникновению ржавчины. Соединение осуществляется с помощью резьбы. Единственным минусом, как и в случае с медью, можно считать высокую стоимость рабочих материалов.
Особенности монтажа.

Если вы планируете заняться монтажом системы отопления, то в первую очередь должны определиться с материалом, из которого будут сделаны трубы. Более того, для максимально успешного монтажа необходимо учесть следующие аспекты:
- Число имеющихся переходников.
- Общая длина трубопровода.
Собственно, вот мы и рассмотрели, что собой представляет паровое отопление в частном доме.
Особенность схемы горизонтальной прокладки труб
Схема горизонтального отопления в двухэтажном доме
В подавляющем большинстве горизонтальная двухтрубная система отопления с нижней разводкой устанавливается в одно или двухэтажных частных домах. Но, кроме этого, она может применяться для подключения к централизованному отоплению. Особенностью подобной системы является горизонтальное расположение основной и обратной (для двухтрубной) магистрали.
При выборе этой системы прокладки трубопроводов необходимо учитывать нюансы подключения к различным видам отопления.
Центральное горизонтальное отопление
Для составления инженерной схемы следует руководствоваться нормами СНиП 41–01–2003. В нем говорится, что горизонтальная разводка системы отопления должна обеспечивать не только должную циркуляцию теплоносителя, но и обеспечить его учет. Для этого в многоквартирных домах обустраивают два стояка — с горячей водой и для приема остывшей жидкости. Обязательно выполняется расчет горизонтальной двухтрубной системы отопления, в которую входит монтаж теплового счетчика. Он устанавливается на входном патрубке сразу после подключения трубы к стояку.
Кроме этого, учитывается гидравлическое сопротивление на определенных участках магистрали
Это важно, так как горизонтальная разводка системы отопления будет эффективно работать только при поддержании соответствующего напора теплоносителя
В большинстве случаев для многоквартирных домов устанавливается однотрубная горизонтальная система отопления с нижней разводкой. Поэтому при выборе количества секций в радиаторах нужно учитывать их удаленность от центрального распределительного стояка. Чем дальше будет расположена батарея – тем больше должна быть ее площадь.
Автономное горизонтальное отопление
Отопление с естественной циркуляцией
В частном доме или в квартире без подключения к центральному теплоснабжению чаще всего выбирается горизонтальная система отопления с нижней разводкой. Однако при этом нужно учитывать режим работы — с естественной циркуляцией или принудительной под давлением. В первом случае сразу от котла монтируется вертикальный стояк к которому подключаются горизонтальные участки.
К преимуществам этой схемы обустройства поддержания комфортного уровня температуры можно отнести следующее:
- Минимальные затраты на приобретение расходных материалов. В частности, горизонтальная однотрубная система отопления с естественной циркуляцией не включает в себя циркуляционный насос, мембранный расширительный бак и защитную арматуру — воздухоотводчики;
- Надежность работы. Так как давление в трубах равно атмосферному — превышение температурного режима компенсируется с помощью расширительного бачка.
Но также следует отметить и недостатки. Главным из них является инертность системы. Даже грамотно спроектированная горизонтальная однотрубная система отопления двухэтажного дома с естественной циркуляцией не сможет обеспечить быстрый нагрев помещений. Это объясняется тем, что теплосеть начинает свое движение только после достижения определенной температуры. Для домов большой площадью (от 150 м.кв.) и при наличии двух этажей и более рекомендуется горизонтальная система отопления с нижней разводкой и принудительной циркуляцией жидкости.
Отопление с принудительной циркуляцией и горизонтальным расположением труб
В отличие от вышеописанной схемы для принудительной циркуляции не нужно делать стояк. Напор теплоносителя в горизонтальной двухтрубной системе отопления с нижней разводкой создается с помощью циркуляционного насоса. Это отражается на улучшении эксплуатационных качеств:
- Быстрое распределение горячей воды по всей магистрали;
- Возможность регулирования объема теплоносителя для каждого радиатора (только для двухтрубной системы);
- Для установки требуется меньшая площадь, так как отсутствует распределительный стояк.
В свою очередь, горизонтальную разводку системы отопления можно сочетать с коллекторной. Это актуально для трубопроводов с большой протяженностью. Таким образом можно добиться равномерного распределения горячей воды по всем комнатам дома.
Во время расчета горизонтальной двухтрубной системы отопления нужно учитывать поворотные узлы, именно в этих местах наибольшие гидравлические потери напора.
Виды парового отопления
Существует несколько систем классификации парового отопления.
В зависимости от возврата конденсата различают:
- закрытые (замкнутые);
- открытые (разомкнутые).
В первом случае конденсат возвращается в нагревательный котел автоматически. Для данного типа парового отопления используются трубы большего диаметра для возврата конденсата.
Второй тип парового отопления накапливает конденсат в отдельном резервуаре и с помощью насоса возвращается в котел.
Паровые системы различают в зависимости от силы давления пара. Оно может быть высоким (до 600 кг/м2), низким (до 170 кг/м2) и вакуум-паровым (до 1 кг/м2), все зависит от технических характеристик конкретной паровой системы.
Важную роль на практике играет классификация паровой системы, которая зависит от разводки труб. Бывает однотрубная система и двухтрубная.
При однотрубной пар с котла, и конденсат от пара, который возвращается в котел, проходят по одной трубе. Минус данной системы – дополнительные шумы и звуки.
В двухтрубной системе, есть две трубы замкнутые в едином цикле, по одной пар идет к радиаторам, а другая служит для возврата в котел образовавшегося конденсата.
Важно! В зависимости от выбора одно- или двухтрубной системы зависит возможность регулировки температур. В двухтрубной температура регулируется при помощи вентиля, а в однотрубной изменение температуры возможно лишь при снижении производительности и мощности котла. Нужно тщательно выбирать тип системы парового отопления, чтобы она была максимально эффективная и подходила под параметры конкретного дома
Нужно тщательно выбирать тип системы парового отопления, чтобы она была максимально эффективная и подходила под параметры конкретного дома.
Основные компоненты
Ключевой компонент системы — котел. Основным его предназначением считается преобразование воды в пар. В дальнейшем он переходит в трубопровод.

Котел должен быть достаточно мощным, чтобы потянуть одновременно два этажа
Элементами конструкции здесь считаются:
- система труб;
- коллекторы;
- барабан.
Паровое пространство
Здесь можно ставить дополнительное оборудование. Оно может быть полезно, если требуется сепарация пара. Интенсивный обмен между паром и водой — основа работы котла. Устройства для обогрева делят на водо- и жаротрубные. В последнем случае нагретые газы движутся в каналах труб, обустроенных в емкости с водой.
Водотрубные модификации работают по немного иному принципу. Здесь движется вода по каналам, построенным внутри камеры с газами. Сначала она нагревается, после чего начинает кипеть. Вода перемещается в естественном режиме внутри котла.
В любых разновидностях котлов действует одно и то же правило превращения воды в пар. Сначала жидкость проводят в резервуар, находящийся в верхней зоне устройства. Далее она перетекает в коллектор и поднимается в расположенный наверху барабан, перемещаясь через область нагрева. Внутри трубы формируется пар, идущий наверх. Он может двигаться сквозь сепаратор, где отделяется от жидкости. Дальше он переходит в паропровод.

Отопление можно без труда установить своими руками
В котле можно использовать различные варианты топлива. В соответствии с этими особенностями конструкция может быть видоизменена. Перемены могут касаться и типа работы камеры сгорания. Допустим, колосниковая решетка потребуется для тех случаев, когда задействуется твердое топливо. В то же время понадобятся особые горелки, если топливо газообразное либо жидкое. Смешанные варианты более удобны и практичны.
Радиаторы и система труб
Показатели температуры в паровой системе находятся в пределах +100…+130°С. По сравнению с водяными они намного выше. Вот почему для обустройства систем похожее оборудование применять не рекомендовано. Это касается труб из полипропилена и металлопластика. Предельные рабочие показатели указанных материалов лежат в пределах +90…+100°С, применять их строго запрещено.
Конденсат, образуемый внутри деталей, приводит к быстрому разрушению материала труб. Нельзя забывать, что сталь неустойчива к коррозии. Агрессивная среда теплоносителя усиливает этот недостаток. Необходимо соединение с помощью сварки, что требует больших временных и трудовых затрат. Лучше брать трубы из оцинкованной стали. Эти изделия противостоят повышенным температурам и предполагают использование резьбового метода для соединения. Такой подход существенно упрощает рабочий процесс. Единственное, что может послужить препятствием для приобретения таких изделий, — их высокая цена.
Еще одним идеальным вариантом считаются трубы из меди. Материал пластичный, не боится термического воздействия, прочный, не подвержен коррозии. Чтобы соединить медные компоненты, прибегают к пайке. Медный трубопровод долговечный, однако стоит дорого.
О системе отопления многоэтажного дома
Система отопления дома. как правило, является однотрубной; разлив или верхний, или нижний. Что касается обратки и подачи, то они могут быть размещены в подвале, но возможно, что обратка находится в подвале, а подача расположена на чердаке. Движение воды в стояках может быть попутным и идти сверху вниз или же встречным и идти снизу вверх (в этом плане имеет значение то, какая была использована схема отопления дома ).
Система отопления.
Есть такие стояки, которые используются со встречным теплоносителем, могут они быть и попутным. Если схема отопления дома именно такая, то в любой системе функционирует стояк полотенцесушителя (при этом система может быть как с открытым водозабором, так и с закрытым).
Очень важное значение имеет количество секций и размер радиаторов отопления. Такие параметры необходимо определить посредством расчетов, по мере того как остывает вода в теплоносителе
В связи с этим есть один хороший совет: если появится желание заменить радиаторы на более новые и современные, то пользоваться услугами знакомых не стоит, так как нужно принимать во внимание продвижение и остывание теплоносителя. В этом случае рекомендуется воспользоваться услугами компании, обслуживающей дом, и не стоит выкидывать перемычки, так как компания заинтересована в их восстановлении. Таким образом, становится понятно, что многоэтажный дом отапливается по довольно простой, но очень эффективной системе
Тем не менее если произошли какие-то сбои, то не стоит заниматься ремонтом самостоятельно (особенно если нет соответствующей подготовки). В любом случае нужно обязательно вызвать мастеров из обслуживающей компании, которые, как правило, в самые короткие сроки устраняют все неполадки. Мастера применяют следующие инструменты:
Таким образом, становится понятно, что многоэтажный дом отапливается по довольно простой, но очень эффективной системе. Тем не менее если произошли какие-то сбои, то не стоит заниматься ремонтом самостоятельно (особенно если нет соответствующей подготовки). В любом случае нужно обязательно вызвать мастеров из обслуживающей компании, которые, как правило, в самые короткие сроки устраняют все неполадки. Мастера применяют следующие инструменты:
- трубный (газовый) ключ;
- разводной ключ;
- трубогиб;
- обжимные клещи.

При помощи задвижек такой дом подключен к центральной системе теплоснабжения.
Сразу же за задвижками установлены фильтры грубой очистки, так называемые грязевики. Они улавливают крупные и средние фракции грязи из подаваемой горячей воды для отопления дома. После грязевиков устанавливаются еще одни задвижки, через которые подается горячая вода для нужд жильцов дома. Получается, что в открытой системе отопления вода нагревается сразу для двух целей для отопления и подачи горячей воды (системы горячего водоснабжения ГВС). Однако для того чтобы жилец дома мог спокойно пользоваться горячей водой задвижки устанавливают с подачи и обратки системы отопления многоэтажного дома.
При нормальных условиях температура подачи горячей воды в систему отопления достигает 150 градусов. Чтобы появилась возможность использовать горячую воду ее подают жильцам после того как она прошла сквозь отопительные приборы всех квартир и отдала тепло . Горячая вода вернувшаяся через обратку отопления будет не больше 60-70 градусов. Если температура горячей воды подающейся в системы отопления низкая (так бывает в начале отопительного сезона и при небольших заморозках) вода берется с подачи.
После ГВС устанавливаются еще одни задвижки при помощи, которых возможно перекрыть отопление дома, а в некоторых случаях устанавливается коллектор.
В домах больше пяти этажей устанавливается однотрубная система отопления многоэтажного дома.
Отличаться может только подача горячей воды в систему отопления. Подача может быть с верхним (подается с чердака) либо нижним разливом (подается с подвала).
Так как давление горячей воды в системах отопления довольно высокое возможно достичь практически одного уровня прогрева каждой квартиры в доме. Недостатком такой системы отопления является то,что при необходимости слить и заполнить воду в системе, в отопительной системе может оставаться воздух. Кран Маевского на радиаторах может помочь решить данную проблему. Альтернативным вариантом центрального может быть индивидуальное отопление квартиры.
Виды разводки

Разводка систем отопления Паровой тип отопления может быть разведен по помещению несколькими способами. Каждый из них имеет свои особенности.
- Верхняя. Подразумевает размещение пароотвода под потолком. Вниз выходят трубы к радиаторам. Обычно для эффективного отопления стараются использовать этот тип системы, так как здесь пар движется по одному носителю, а конденсат по другому.
- Нижняя. По одним и тем же патрубкам осуществляется движение конденсатора и пара. В результате возможно возникновение гидроудара и разгерметизации системы. Трубы располагаются на уровне пола.
- Промежуточная. Укладывается пароотвод на уровне подоконника, поэтому горячие патрубки находятся в зоне доступа. Из-за этого повышается риск получения ожога. Принцип работы такой конструкции схож с верхним вариантом разводки.
5 Монтаж отопления – неужели это просто?
Монтируя паровое отопление своими руками, учитывайте размеры отапливаемой площади, количество и расположение радиаторов, запорно-регулирующей аппаратуры, фильтров и других элементов, необходимых для обеспечения нормального функционирования системы. Циркуляционный насос и паровентиляторы должны подбираться так, чтобы обеспечить эффективную циркуляцию теплоносителя
Важно принять во внимание, где будет размещать оборудование и как далеко будет расположен паровой котел
Монтаж парового отопления
Чтобы сделать паровое отопление самостоятельно, необходимо приготовить следующее оборудование и материалы:
- паровой генератор (котел);
- трубы для прокладки магистрали;
- радиаторы;
- контрольно-измерительные приборы;
- запорно-регулирующую арматуру.
В проектной документации должна быть указана длина труб, их количество и диаметр, а также используемые радиаторы или другие нагревательные элементы. Все это необходимо нанести на бумагу в виде схемы с подробным описанием всех нюансов. Когда проект и схема готовы, приступаем к монтажу. Монтируется система строго по схеме.
- 1. На первом шаге подготавливаем поверхности, к которым будет крепиться оборудование. На стенах монтируем крепления, на которых будут держаться радиаторы. Затем крепим отопительные приборы на стены. Располагать их следует под окнами, чтобы исключить появление холодных сквозняков: воздушные потоки, поступающие извне, будут сразу же нагреваться. Кроме того, это исключит запотевание окон и сдвинет «точку росы».
- 2. Далее устанавливаем котел (парогенератор) на бетонное основание. Пол изолируем пожаробезопасным материалом. Его лучше разместить в подвале, так как пары поднимаются вверх (или в гараже). Если планируется устройство теплых полов, то лучше купить двухконтурный котел, который будет разделять работу для дома и полов. В этом случае парогенератор располагаем выше половой поверхности.
- 3. Расширительный бак устанавливаем с помощью специальных креплений в наивысшей точке системы отопления, его нужно включить в магистраль между парогенератором и радиаторами. По рекомендациям специалистов устанавливать открытый бак следует на самом близком расстоянии к отопительному котлу.
- 4. На следующем этапе монтируем трубопровод. Начинать разводку будем с парогенератора. Трубу от него подводим к первому отопительному прибору, при необходимости обрезаем ее, если она слишком длинная. Затем соединяем все вводы и выводы. Аналогично делаем подключение трубы к следующему прибору, пока не соединим в единую магистраль все отопительные части. Трубы монтируются с наклоном 3 мм на метр для естественной циркуляции.
- 5. Каждую батарею оборудуем краном Маевского, чтобы можно было удалять образовавшиеся воздушные пробки, которые будут мешать эффективной работе системы.
- 6. Перед парогенератором устанавливаем накопительный бак, в котором будет собираться конденсат, а потом под естественным уклоном вода будет перетекать в отопительный котел.
- 7. Магистраль замыкаем на отопительном котле, создавая, таким образом замкнутый контур. На котле устанавливаем фильтр, он будет задерживать частицы грязи, содержащиеся в воде, и по возможности циркуляционный насос. Патрубок, идущий от насоса к котлу, должен быть диаметром меньше, чем остальные трубы.
- 8. На выходе из котла монтируем контрольно-измерительные приборы: манометр и клапан сброса.
- 9. В систему включаем узел слива/залива для откачивания теплоносителя из системы по окончании отопительного сезона или при ремонте.
- 10. После окончания монтажа проверяем систему на работоспособность и наличие течи. Устраняем все обнаруженные неполадки.
Использование парового отопления дешевле водяного, но в жилых помещениях его не рекомендуют устанавливать из-за опасности возникновения аварийной ситуации в случае порыва.
Паровые системы теплоснабжения

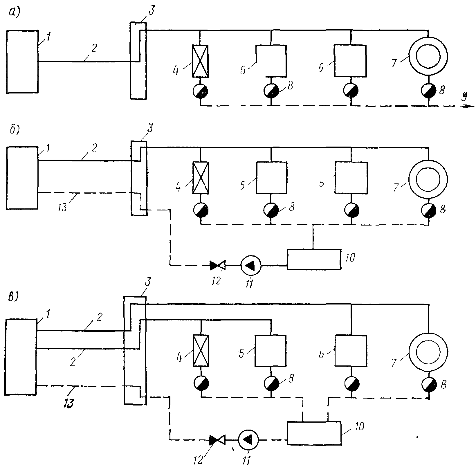
Рис.4.
Принципиальные схемы паровых систем
теплоснабжения
а–однотрубной
без возврата конденсата; б–двухтрубной
с возвратом конденсата; в–трехтрубной
с возвратом конденсата; 1–источник
тепла; 2–паропровод; 3–абонентский
ввод; 4–калорифер вентиляции;
5–теплообменник местной системы
отопления;6–теплообменник местной
системы горячего водоснабжения;
7–технологический аппарат;
8–конденсатоотводчик; 9–дренаж;10–бак
сбора конденсата; 11–конденсатный насос;
12–обратный клапан; 13–конденсатопровод
Как
и водяные, паровые системы теплоснабжения,
бывают однотрубными, двухтрубными и
многотрубными (рис. 4)
В
однотрубной паровой системе (рис. 4,а)
конденсат пара не возвращается от
потребителей тепла к источнику, а
используется на горячее водоснабжение
и технологические нужды или выбрасывается
в дренаж. Такие системы мало экономичны
и применяются при небольших расходах
пара.
Двухтрубные
паровые системы с возвратом конденсата
к источнику тепла (рис. 4,б) имеют наибольшее
распространение на практике. Конденсат
от отдельных местных систем теплопотребления
собирается в общий бак, расположенный
в тепловом пункте, а затем насосом
перекачивается к источнику тепла.
Конденсат пара является ценным продуктом:
он не содержит солей жесткости и
растворенных агрессивных газов и
позволяет сохранить до 15% содержащегося
в паре тепла. Приготовление новых порций
питательной воды для паровых котлов
обычно требует значительных затрат,
превышающих затраты на возврат конденсата.
Вопрос о целесообразности возврата
конденсата к источнику тепла решается
в каждом конкретном случае на основание
технико-экономических расчетов.
Многотрубные
паровые системы (рис. 4,в) применяются
на промышленных площадках при получении
пара ТЭЦ и в случае, если технология
производства требует пара разных
давлений. Затраты на сооружение отдельных
паропроводов для пара разных давлений
оказываются меньше, чем стоимость
перерасхода топлива на ТЭЦ при отпуске
пара только одного, наиболее высокого
давления и последующего редуцирования
его у абонентов, нуждающихся в паре
более низкого давления. Возврат конденсата
в трехтрубных системах производится
по одному общему конденсатопроводу. В
ряде случаев двойные паропроводы
прокладываются и при одинаковом давлении
в них пара в целях надежного и бесперебойного
снабжения паром потребителей. Число
паропроводов может быть и больше двух,
например, при резервировании подачи с
ТЭЦ пара разных давлений или при
целесообразности подачи с ТЭЦ пара трех
разных давлений.
На
крупных промышленных узлах, объединяющих
несколько предприятий, сооружаются
комплексные водяные и паровые системы
с подачей пара на технологию и воды на
нужды отопления и вентиляции.
На
абонентских вводах систем кроме
устройств, обеспечивающих передачу
тепла в местные системы теплопотребления,
большое значение имеет также система
сбора конденсата и возврата его к
источнику тепла.
Поступающий
на абонентский ввод пар обычно попадает
в распределительную гребенку, откуда
непосредственно или через редукционный
клапан (автомат давления «после себя»)
направляется к теплоиспользующим
аппаратам.
Срок службы
Долговечность эксплуатации парового отопления зависит от соблюдения требований безопасности
Срок эксплуатации отопления парового типа зависит от соблюдения требований безопасности. Обычно при правильной настройке и запайке системы конструкция служит не один десяток лет. Однако при скачках давления внутри труб возможны неполадки в работе котла и его составляющих.
Применяя стальные трубы для обогревателя, стоит помнить, что они прослужат недолго. В носителе будет циркулировать горячий и влажный пар. Это оптимальные условия для развития коррозии и появления ржавчины. Часто такая проблема возникает именно на швах.





































